全国空降免费平台_全国同城空降快餐群_全国空降免费服务平台_全国600城市空降服务电话
Toggle navigation
重庆川流机械有限公司
网站首页
公司简介
企业文化
资质证书
公司业绩
汇款信息
重点客户
产品展示
润滑系统
润滑设备配件
新闻动态
应用案例
文档中心
联系我们
欢迎光临
重庆川流机械有限公司
官网!您的肯定是我奋斗的目标!
欢迎光临
重庆川流机械有限公司
官网!
新闻动态
润滑常识
公司动态
机械新闻
设备润滑方式之油环与油链润滑
2012-03-02 09:06
关键词:设备润滑,润滑方式,油环,油链润滑
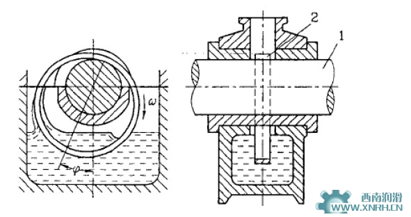
油环与油链润滑依靠套在轴上的油环或油链将油从油池中带到润滑部位。
如图所示,套在轴1上的油环2下部在油池中,当轴旋转时,靠摩擦力带动油环转动,从而把油带入轴承中进行润滑。
上一篇:开式齿轮的传动与润滑
下一篇:抵抗式集中稀油润滑系统组成及特点
为您推荐
智能集中润滑系统输送用的润滑脂如何选
国内润滑技术公司的诞生
先进的供油系统:喷射式集中润滑
搞好矿山设备润滑的紧迫性
油气润滑和油雾润滑的比较
相关产品
主站蜘蛛池模板:
芜湖市
|
左权县
|
上高县
|
信宜市
|
湟中县
|
中西区
|
克拉玛依市
|
安庆市
|
赞皇县
|
西贡区
|
崇文区
|
余姚市
|
新源县
|
沙洋县
|
阳泉市
|
鸡东县
|
文安县
|
永安市
|
厦门市
|
大竹县
|
渝北区
|
枣强县
|
蓬莱市
|
宾川县
|
萨嘎县
|
忻州市
|
瓦房店市
|
大邑县
|
比如县
|
怀化市
|
罗定市
|
晋中市
|
贞丰县
|
新营市
|
远安县
|
合川市
|
宜宾县
|
凤台县
|
杭锦后旗
|
黑山县
|
赤水市
|